
产品简介
功能及特点: SDB-120D型大坡度专用履带式扒渣机主要用于坡度巷道的矿洞、隧道、水电、涵洞、国防工程等各种稀有矿石块料的装载作业。 主要配套件采用国际名牌
产品分类
功能及特点:
SDB-120D型大坡度专用履带式扒渣机主要用于坡度巷道的矿洞、隧道、水电、涵洞、国防工程等各种稀有矿石块料的装载作业。 主要配套件采用国际名牌产品,产品性能达到国内同类产品的水平。设备适用于≤30°大坡度巷道使用。
■本机依靠履带行走,推动力大、扒取范围广、全断面装岩、不留死角,不需人工辅助清理工作面,保证在各种恶劣条件下实现 佳性能;
■本机工采用进口液压先导操纵杆系,结合高效率液压阀,加性动譬,斗杆速度和输送速度,实现完美的复合作业性能;
■本机工工作轻便,动作举升定位准,扒取范围广,运料速度快,具有安全、环保、效率高、超节能的特点,完全符合人机工程学设计,能适应各种复杂工况,性能及结构居全国同类产品之首,与进口产品媲美;
技术参数 TECHNICAL SPECIFICATIONS

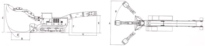
工作示意图:

零部件:

在线留言